(http://men.devushkam.net/index.php)
-   Про пиво и водку, мужские напитки и еду (http://men.devushkam.net/forumdisplay.php?f=22)
-   -   Производство кваса в России (http://men.devushkam.net/showthread.php?t=12251)

Мужчина 04.09.2015 11:09

Производство кваса в России
 
ОСНОВНЫЕ ПОЛУПРОДУКТЫ ДЛЯ ПРИГОТОВЛЕНИЯ КВАСА.

Ржаной солод.

Ржаной солод получают двух видов: ферментированный и неферментированный. При производстве ферментированного солода свежепроросший солод подвергают ферментации (томлению) для накопления красящих и ароматических веществ. От качества ржаного солода зависят вкус, аромат, цвет хлебного кваса, поэтому для его приготовления используют озимые сорта ржи, которые быстро прорастают.
Для завершения физиологического созревания свежесобранная рожь перед солодоращением выдерживается в течение 1— 1,5 мес.
Схема приготовления ржаного солода практически не отличается от схемы приготовления ячменного солода (см. рис. 6), отличие имеется только в технологических режимах.
Производство ржаного солода начинают с очистки ржи от примесей. Перед выдержкой свежеубранную рожь подвергают первичной очистке на воздушно-ситовом сепараторе. А перед солодоращением ее очищают от сорной и зерновой примесей вторично и сортируют на три сорта через сита с размером отверстий 1,5; 1,8; 2,0 мм. Каждый сорт зерна замачивают отдельно.
Замачивание ржи. Эту операцию проводят в замоченном чане по той же технологии, что и замачивание ячменя, до влажности 45—50%.
Перед замачиванием зерно отмывают от пыли, грязи и легких зерновых и незерновых примесей (сплав). Промытое зерно дезинфицируют раствором хлорной извести (из расчета 300 г хлорной извести на 1 т зерна). Замачивают зерно при температуре 13— 17°С в непрерывном токе воды и воздуха или воздушно-водяным способом. В конце замачивания зерна последние 2 ч в замочный чан подают непрерывно воду температурой не ниже 15°С.
Хорошо замоченное зерно, поставленное торцом между пальцами, при сжатии сгибается, не ломаясь; оно легко прокалывается иглой; при продольном разрезе в середине зерна остается небольшая белая точка величиной с булавочную головку.

Мужчина 04.09.2015 11:09

Проращивание ржи

При проращивании замоченной ржи ферменты зерна активизируются и под их действием происходит превращение крахмала и белков в растворимые сахара и аминокислоты. При этом происходит и накопление ферментов в солоде. Увеличивается содержание цитолитических ферментов, которые гидролизуют гемицеллюлозу, входящую в структуру клеточных стенок, образуя моносахариды. В результате облегчается доступ амилазы к крахмальным зернам внутри клеток и происходит их разрушение. Часть образовавшихся из крахмала Сахаров тратится на дыхание, что обусловливает некоторые потери экстрактивных веществ.
Проращивание ржи проводят в токовых, ящичных и барабанных солодовнях при температуре 13—19°С в течение 4 сут.
Режим солодоращения в токовой солодовне следующий. Перед спуском из замочного чана зерно на 2 ч оставляют без воды для обсушивания, затем зерно влажностью 46—49% укладывают на току в грядки слоем 30—50 см. Первый раз зерно перелопачивают через 10—12 ч, уменьшая высоту грядки до 25—35 см, затем через каждые 12 ч перелопачивание повторяют, снижая на четвертый день высоту грядки до 15—20 см. Температура проращивания от 13—15°С в первый день повышается до 18—19°С на четвертый день. В процессе проращивания в зерно вводят воду с таким расчетом, чтобы влажность его была 44—46%.
Для проращивания в ящичной солодовне замоченную рожь вместе с водой подают в ящик и равномерно распределяют на ситчатом дне слоем до 50 см; а зерно обсушивают, периодически продувают увлажненный воздух температурой до 12° С. Ворошение зерна проводят 2 раза в сутки. Температуру солода в первые сутки ращения поддерживают 14—15° С, во вторые 15—16° С, в третьи 16—17° С и на четвертые 17—18° С, регулируя ее продуванием воздуха.
В барабанной солодовне: замоченное зерно загружают в барабан и в течение 1—1,5 ч продувают через него сухой воздух при вращении барабана. Затем зерно оставляют в покое на 4—6 ч и после этого, вращая барабан, продувают кондиционированный воздух: в первые сутки через каждые 5 ч по 1ч, на вторые — через 3 ч по 1 ч, на третьи — через 3 ч по 2 ч, на четвертые — через 2—3 ч по 1—2 ч. Температуру солода в первые сутки ращения поддерживают 13—14°С, во вторые 14—15°С, в третьи 15— 16°С и на четвертые 17—18°С.
К концу ращения любым способом ростки достигают 1—1,5 длины зерна. При ращении не допускается развитие листка.

Мужчина 04.09.2015 11:11

Томление

После проращивания ржаной солод подвергают томлению (ферментации) при повышенной температуре. При томлении в результате химического взаимодействия редуцирующих сахаров и аминокислот протекает реакция образования меланоидинов и солод приобретает аромат хлебной корки.
Ферментацию солода на току проводят в течение 4—5 сут следующим образом. Свежепроросший солод собирают в кучи, имеющие в сечении форму призмы высотой до 1 м и шириной до 1,5 м. Первые двое суток зерно оставляют в покое для самоСО2ревания. Температура солода в нижней части достигает 30°С, в средней 55—60°С, в верхней 50°С.
К концу вторых суток солод перемешивают так, чтобы верх*ний слой переместился на место нижнего, а нижний—на место верхнего. При перелопачивании зерно увлажняют и оставляют в покое на 2—3 сут при тех же условиях томления, что и в пер*вый период. Температура наружного воздуха в солодовне долж*на быть 13—15°С. Свежепроросший томленый солод имеет аро*мат ржаного хлеба, темно-коричневый цвет и сладкий вкус. При сжатии в горсти он превращается в клейкую массу.
При томлении в ящиках свежепроросший солод оставляют в покое на 12—24 ч (слоем не более 70 см) до тех пор, пока темпе*ратура в среднем слое не повысится до 50—55°С. Затем его воро*шат и продувают кондиционированным воздухом с такой интен*сивностью, чтобы влажность была не ниже 50%, а температура во всех слоях 50—55°С. Томление в ящике продолжается 5 сут.
При томлении в барабане свежепроросший солод оставляют в покое на 1 сут, температура его при этом повышается до 55°С. После этого солод перемешивают вращением барабана. В после*дующие четыре дня температуру солода при помощи подогрева*теля постепенно повышают от 55 до 65°С (на пятый день). Том*ление в барабане длится 5 сут.
Для повышения концентрации ароматических веществ реко*мендуется томленый солод подвергать термической обработке при 105°С в течение 5 ч с таким расчетом, чтобы влажность его была не ниже 35°.

Мужчина 04.09.2015 11:11

Сушка и хранение ржаного солода

Ржаной солод сушат на двух- и трехъярусных горизонтальных сушилках в течение 24 ч: при естественной тяге— слоем не более 25 см на верхней решетке, при принудительной тяге высоту слоя солода повышают до 35 см. В двухъярусной сушилке солод находится по 12 ч на каждой решетке, включая время загрузки и выгрузки. Температура сушки на верхней решетке поднимается до 55°С, а влажность солода снижается до 25%, ворошение в первые 6 ч проводят через 2 ч, в последующие 6 ч — через 1 ч.
На нижней решетке температуру солода повышают до 65°С, а влажность снижают до 8%. Режим ворошения такой же, как и на верхней решетке. Высушенный ржаной солод охлаждают в те*чение одних суток и хранят в сухом вентилируемом помещении. Рекомендуется проводить выдержку сухого солода около 1 мес, при этом улучшаются его вкус и аромат.
Перед использованием ржаной солод измельчают в дробилке. При производстве кваса используют и неферментированный нетомленый ржаной солод, сохраняющий ферменты и называе*мый диастатическим.
Зерно для этого солода замачивают при температуре 13— 16°С до влажности 45% (в течение 32—36 ч). Проращивание длится около 3,5 сут. Длина ростка не должна превышать 3/4 дли*ны зерна. Свежепроросший солод без томления направляют в солодосушилку и высушивают в таком же режиме, что и том*леный солод.

Мужчина 04.09.2015 11:11

Потери сухих веществ и показатели качест*ва ржаного солода

В процессе приготовления ржаного солода теряются сухие вещества зерна: на стадии замачивания до 2%, на стадии проращивания до 9% и на стадии томления до 13,5% (при 5-суточной ферментации).
Показатели качества ферментированного солода в соответст*вии с требованиями отраслевого стандарта должны быть сле*дующими.
Цвет — от коричневого до темно-бурого с красным оттенком; запах — поджаренного ржаного хлеба; вкус — кисло-сладкий, приближающийся к вкусу ржаного хлеба; влажность не более 8%; содержание экстрактивных веществ при холодном экстра*гировании с вытяжкой из ячменного солода — не менее 48% к массе сухих веществ; кислотность при холодном экстрагирова*нии (в 1 мл раствора NаОН на 100 г абсолютно сухого соло*да) — не менее 35; цветность солода при холодном экстрагиро*вании (в мл 1 н. раствора йода на 100 г абсолютно сухого соло*да) — 10—20.

Мужчина 04.09.2015 11:12

Квасные хлебцы

Это полуфабрикаты в производстве хлебного кваса. Квасные хлебцы выпекают из смеси ржаного и ячмен*ного солода, ржаной муки и воды (без дрожжей или закваски). На 1 т квасных хлебцев расходуют 477 кг ржаного солода, 77 кг ячменного солода и 185 кг ржаной муки. Перед употреблением ржаной и ячменный солод размалывают.
Квасные хлебцы готовят следующим образом. Ржаную муку размешивают в кипящей воде в соотношении 1 : 1,5 и выдержи*вают в течение 1 ч для клейстеризации крахмала. За это время температура смеси понижается до 70°С. Одновременно в другой емкости в горячей воде (70СС) затирают дробленый ячменный солод в соотношении 1 : 3 и выдерживают в течение 1 ч. Затем эту солодовую суспензию смешивают с заваркой муки и поме*щают на 2 ч в расстойную камеру, где температура около 65°С.
После этого в смесь добавляют дробленый ржаной солод, перемешивают и помещают в расстойную камеру еще на 1 ч для продолжения осахаривания крахмала. ,
Готовое тесто помещают в формы и выпекают в течение 13 ч. Начальная температура выпечки (в течение первых 3 ч) 160— 180°С, затем (постепенно за 10 ч) ее понижают до 140°С, а в конце выпечки — до 90°С. Выгруженные из печи хлебцы массой—3,5 кг выбивают из формы, укладывают на вагонетки и направляют в остывочную камеру.
При выпечке хлебцев происходят следующие процессы. При температуре 75СС в хлебцах разрушаются ферменты и денатурируют белки. С повышением температуры до 110°С из крахмала образуются декстрины и интенсивно протекает реакция меланоидинообразования. При температуре, близкой к 50°С, происходит карамелизация декстринов. Квасные хлебцы имеют темно-коричневую корку, вкус кисло-сладкий, запах солодово-хлебный, влажность не более 40%.
Из свежевыпеченных хлебцев готовят квасное сусло. Хранить тех можно не более 4—5 суток (начинают плесневеть), поэтому для длительного хранения хлебцы разрезают на ломти и сушат в
Течение 10—12 ч при температуре от 50 до 90СС до влажности 8%. Затем ломти дробят, получая так называемый сухой квас.

Мужчина 04.09.2015 11:14

Вложений: 2
Концентрат квасного сусла

Это так называемый хлебный экстракт. Он служит полуфабрикатом для производства кваса. По органолептическим и физико-химическим показателям он должен соответствовать требованиям действующего ОСТа.
По внешнему виду это вязкая густая жидкость темно-корич*невого цвета, на вкус кисло-сладкая с незначительно выражен*ной горечью, аромат, характерный для ржаного хлеба. Концен*трат полностью растворим в воде. При растворении допускается опалесценция раствора и небольшой осадок (не более 1% об.). Содержание сухих веществ должно быть 70±2%. кислотность — 16—40 мл 1 н. раствора щелочи на 00 г концентрата. Присутствие консервирующих веществ и механических примесей не допускается.
На рис. 65 дана схема производства концентрата квасного сусла из свежепроросшего ферментированного ржаного солода с применением ферментного препарата.
По этой схеме примерно 9/10 частей ферментированного свежепроросшего ржаного солода и 1/10 часть, неферментированного свежепроросшего солода норией подают в дробилку 2. Измель*ченную массу шнековым транспортером 3 загружают в заторный аппарат 4,-оснащенный мешалкой и подогревателем, и смешива*ют с водой в соотношении 1 :4. В заторный аппарат предвари*тельно вводят суспензию ферментного препарата, приготовлен*ную в сборнике 5. После загрузки солода, ферментного препара*та (Амилоризин Пх или Цитороземин Пх) и перемешивания рН затора устанавливают 5—5,5, поднимают температуру до 42°С и проводят осахаоивание по следующему режиму:

Вложение 1596

Полноту осахаривания определяют по пробе с йодом. Когда при добавлении раствора йода в затор появляется желтое пятно с коричневым оттенком, осахаривание прекращают и затор пере*качивают в сборник 6.
В сборник 6 через барботер подают сжатый воздух для пред*упреждения оседания твердых частиц зерна. Затем затор посту*пает на двухстадийное осветление. Грубое фильтрование прово*дят в центрифуге 7, после чего сусло направляется в сборник-коа*гулятор 8 для 30-минутного кипячения и осаждения белков. Первое сусло из сборника 8 подают в сепаратор 14 для тонкого осветления и собирают в сборнике 13.

Вложение 1597

Отделенную при центрифугировании гущу передают в сбор*ник 15, где ее промывают водой. Затем смесь перекачивают на*сосом в заторный аппарат 4 для экстрагирования оставшихся экстрактивных веществ и вновь направляют через сборник 6 в центрифугу. Квасную гущу после второй промывки передают в сборник 16, откуда отпускают ее на корм скоту.
Фильтрат, полученный после второго экстрагирования (вто*рое сусло)-, пройдя сборник-коагулятор 8 и сепаратор 14, на*правляют в сборник 13, где его смешивают с первым суслом, получая сусло c содержанием 9—12% сухих веществ. Это. сусло перекачивают насосом в питающий сборник 9, откуда оно посту*пает в вакуум-аппарат 10 на сгущение. Сгущение проводят под разрежением, создаваемым вакуум-насосом 12 при температуре около 55°С до содержания 68—72% сухих веществ. Полученный горячий концентрат квасного сусла из сборника 11 разливают в банки, фляги, бочки, автомобильные и железнодорожные цис*терны.
Гарантийный срок хранения концентрата квасного сусла при температуре 2—12°С — 8 мес.
На производство 1 т концентрата квасного сусла, содержа*щего 72% сухих веществ, расходуется 1640 кг ржи.
Из концентрата квасного сусла приготовляют концентрат кваса, для чего его купажируют с сахарным сиропом и молоч*ной кислотой.

Мужчина 04.09.2015 11:15

Вложений: 2
Сахарный сироп

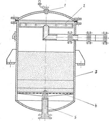
При получении хлебного кваса используют сахарный сироп. Сахарный сироп представляет собой концент*рированный водный раствор сахара-песка, содержащий 60— 66% сухих веществ. Готовят его в эмалированных котлах (рис. 66).
Котел представляет собой закрытый резервуар / цилиндри*ческой формы со сферическим днищем 2 и паровой рубашкой с патрубками для пара и конденсата. Внутри установлена якор*ная мешалка с верхним приводом. В крышке 3 котла имеется люк 4 с задвижкой для загрузки сахара, патрубок для залива воды и вытяжная труба.
Сахарный сироп готовят горячим способом. Для этого в сироповарочный котел наливают воду и нагревают ее до 60°С. Пос*ле этого постепенно при непрерывном нагревании и размешива*нии вводят сахар.

Вложение 1599
Рис. 66. Сироповарочный котел

Нагревание приостанавливают 2 раза для снятия пены. Уда*ление пены обязательно, так как при розливе напитков в бутыл*ки пена ухудшает их вкус и вызывает опалесценцию. Вместе с пеной удаляются и содержащиеся в сахаре загрязнения. Сироп ки*пятят 30 мин для уничтожения слизеобразующих бактерий; более длительное кипячение может при*вести к ухудшению качества. Го*рячий сироп фильтруют, охлаж*дают до 20° С и используют для приготовления купажных сиропов.

Вложение 1598
Рис. 67. Колероварочный котел

Мужчина 04.09.2015 11:16

Колер

Это карамелизованная при высокой температуре са*хароза. Для приготовления колера используют колероварочный котел (рис. 67).
Колероварочный котел состоит из двух цилиндров 3 и 4; внут*ри корпуса расположен тигель 2. Обогревается котел электриче*ским нагревателем. Двумя полуосями 8 котел опирается на стойки каркаса. С помощью шестеренок 6 и 7 и рукоятки 5 его можно поворачивать. Массу в котле перемешивают переносной мешалкой. Над котлом установлен вытяжной зонт. Вместимость котла должна быть в 4 раза больше объема расплавляемого в нем сахара.
Для приготовления колера в предварительно нагретый котел заливают 1—2% воды от массы загружаемого сахара и равномер*но подают сахар. Смесь постепенно при перемешивании нагре*вают до 160—165° С, сахар начинает плавиться и приобретает темно-коричневый цвет. Затем нагревание прекращают и при перемешивании осторожно добавляют воду (около 8% к мас*се сахара). После этого включают обогрев и при температуре 180—200°С выдерживают смесь до состояния, когда капля полу*ченной массы, нанесенная на стекло, не будет растекаться на нем. Готовый колер разбавляют водой, перекачивают в сборник.
При варке колера нельзя допускать его обугливания, он дол*жен полностью растворяться в воде.
Существуют и другие способы приготовления колера. Напри*мер сахар-песок медленно (в течение 40 мин) нагревают в колероварочном котле до 180°С при включенной мешалке и уварива*ют в течение 90 мин. Готовую карамельную массу выгружают в бак для доварки колера, добавляют к охлажденной до 60—65°С массе горячую воду до концентрации 70—80% сухих веществ и перекачивают в сборник, из которого колер берут для приготов*ления купажа.
Потери сахара при варке колера составляют 28—30%.

Мужчина 04.09.2015 11:17

Вложений: 1
Комбинированная закваска

Комбинированная закваска из чистых культур квасных дрожжей и молочнокислых бактерий. Закваску готовят непосредственно на заводе по схеме, приведенной на рис. 68.
В квасное сусло добавляют сахарный сироп до содержания в нем 8% сухих веществ. Сусло стерилизуют и помещают в бу*тыль 3. Из бутыли по мере надобности сусло забирают в про*бирку 5 (10 мл), в колбу 6 (25 мл), в колбу 7 (2 л), в бутыль 8 (18 л). Затем чистую культуру квасных дрожжей, полученную из микробиологической лаборатории ВНИИ пиво-безалкоголь*ной промышленности, переносят из пробирки 4 в пробирку 5 и выдерживают 24 ч в термостате при 30°С. Забродившее сусло с дрожжами из пробирки 5 переносят в колбу 6, которую также выдерживают 24 ч в термостате при 30°С. Из колбы 6 сусло с дрожжами передают в колбу 7, вновь выдерживают 24 ч при 30°С и оттуда направляют в бутыль 8. Содержимое бутыли сбра*живается в течение 12 ч, при этом накапливается достаточное количество дрожжевых клеток. Из бутыли 8 отбирают 17—18 л дрожжевой разводки и переносят в сборник комбинированной закваски 10, а в бутыли 8 оставляют 2—3 л дрожжевой разводки и доливают туда столько же квасного сусла температурой 30°С (для восстановления концентрации дрожжей). Такое добавление сусла в бутыль 8 можно повторять не более 15 раз, а затем дрожжевую разводку вновь получают из чистой культуры дрожжей (из пробирки 4).
Чистую культуру молочнокислых бактерий также разводят на стерильном квасном сусле, содержащем 8% сухих веществ. Для этого в шесть пробирок 2 из бутыли 3 наливают по 10 мл сусла, 1 л сусла отбирают в колбу 13 и 20 л — в бутыль 12. Затем чис*тую культуру молочнокислых бактерий расы 11 из пробирки / переносят в три пробирки 2, а в другие три пробирки 2 переносят чистую культуру молочнокислых бактерий расы 13 из пробирки 14. Все шесть пробирок выдерживают 24 ч в термостате при 30 С, затем их содержимое переносят в колбу 13 и оставляют в термо*стате на 24 ч при 30°С. После этого разводку переливают в бу*тыль 12 и разбраживают двое суток при 30°С до накопления киcлоты, оттитровываемой 6,8—7,0 мл 1 н. раствора щелочи в 100 мл разводки.

Вложение 1600
Рис. 68. Схема приготовления комбинированной дрожжевой и молочнокислой закваски

Полученную молочнокислую разводку (21 л) в аппарате 11 добавляют к 400 л пастеризованного квасного сусла, в которое внесена Д сахара от нормы его расхода на квас по рецептуре. В аппарате 11 сусло сбраживается 48 ч при 30°С до кислотности С,8—7,0 мл 1 н. раствора щелочи на 100 мл разводки.
Для приготовления комбинированной закваски в сборник 10 наливают 320 дал пастеризованного квасного сусла, туда же из аппарата И передают всю разводку молочнокислых бактерий (420 л) и из бутылки 8 забирают 17—18 л дрожжевой разводки. После 6 ч совместного брожения дрожжей и молочнокислых бактерий из сборника 10 отбирают 400 л комбинированной закваски ;для засева в бродильно-купажный аппарат 9 вместимостью 10 м3. Засев проводят при температуре 25—30°С.
На заводах небольшой мощности вместо комбинированной за*кваски приготовляют разводку из сушеных, технически чистых культур дрожжей и молочнокислых бактерий.
При использовании в квасном производстве прессованных хлебопекарных дрожжей их предварительно подмолаживают. Для этого массу прессованных дрожжей (150 г на 1000 л кваса) измельчают и смешивают с 10-кратным количеством квасного сусла, куда добавлен сахарный сироп до 8% сухих веществ. Полу*ченную разводку выдерживают 3 ч в термостате при 25—30°С.
Подмоложенные дрожжи вносят в квасное сусло одновре*менно с разводкой молочнокислых бактерий.

Мужчина 04.09.2015 11:40

Заменители сахара

При приготовлении безалкогольных напитков для больных диабетом применяют сорбит пищевой и ксилит пищевой.
Сорбит выпускают в виде твердых плиток серого цвета, упа*кованным в парафинированную бумагу. Вкус сладкий с прият*ным холодящим привкусом, без запаха. Содержание сорбита в плитке не менее 99% (к массе сухих веществ), золы не более 0,1 %, влажность не более 5%.
Ксилит представляет собой кристаллы белого цвета с желтым оттенком, влажностью не более 1,5—2,0%, содержанием золы (к массе сухих веществ) не более 0,08%. Упаковывают его по 25 кг в бумажные мешки с полиэтиленовыми вкладышами. Вкус кси*лита сладкий, по сладости равен сахарозе, запаха не имеет.

Мужчина 04.09.2015 11:42

СЫРЬЕ ДЛЯ ПРОИЗВОДСТВА КВАСА

ПЛОДОВО-ЯГОДНЫЕ ПОЛУФАБРИКАТЫ

Для приготовления безалкогольных напитков используют соки плодово-ягодные натуральные, соки плодово-ягодные спиртованные, морсы плодово-ягодные сброженные, яблочный осветленный концентрированный сок, концентрат для напитка «Яблоко»; экстракты плодовые, ягодные и из пряно-ароматического сырья.
Сок из плодов и ягод извлекают прессованием или экстракцией. Консервируют его добавлением этилового спирта или пастеризуют, а также сгущают до плотности густого сиропа или сбраживают.
Плодово-ягодные соки содержат сахара, органические кислоты, гликозиды, дубильные, красящие и ароматические вещества, ферменты, витамины С, Р, В6, В2, каротин и др. К нерастворимым веществам плодов и ягод относятся целлюлоза, гемицеллюлоза, протопектин, крахмал, жиры и др., которые остаются в отходах сокового производства. Наличие большого количества пектиновых веществ вместе с сахаром и органическими кислотами вызывает желирование сока (переход сока в студнеобразное состояние), что ухудшает условия его извлечения. Присутствие в. соках пектиновых веществ снижает стойкость безалкогольных напитков, поэтому из соков пектин осаждают этиловым спиртом или разрушают пектолитическими ферментами.
Натуральные плодово-ягодные соки поступают на заводы в герметически закрытых стеклянных или жестяных банках вместимостью до 3 л с концентрацией сухих веществ 8—12%. Концентрация спирта в плодово-ягодных соках должна быть 16%. Яблочный осветленный концентрированный сок и концентрат для напитка «Яблоко» поставляют с содержанием сухих веществ не менее 70%.
Плодовые и ягодные экстракты после отстаивания в течение 2 ч представляют собой прозрачную жидкость с содержанием 26
Хох веществ: в виноградном экстракте 62%, клюквенном 54%, черносмородиновом 44%, остальных 57%.
Для производства безалкогольных напитков используют такие экстракты из пряно-ароматического сырья.

Мужчина 04.09.2015 11:46

СПИРТ ЭТИЛОВЫЙ

Для консервирования натуральных плодово-ягодных соков, приготовления экстрактов растительного сырья, ароматических настоев, растворения эфирных масел применяют этиловый спирт высшей очистки.
Спирт этиловый (С2Н5ОН) получают брожением из зерна, картофеля и свеклосахарной мелассы. По внешнему виду это бесцветная легколетучая жидкость без посторонних запаха и привкуса, концентрация этилового спирта в этой жидкости дол*жна быть не ниже 96,2%, альдегидов и сивушного масла — не более чем по 4 мг/л. Перевозят этиловый спирт в железнодорож*ных или автомобильных цистернах, плотно закрытых и опломби*рованных, иногда — в металлических бочках.

Мужчина 04.09.2015 11:47

АРОМАТИЧЕСКИЕ ВЕЩЕСТВА

Для придания безалкогольным напиткам характерного аро*мата используют эссенции и ароматические настои, представля*ющие собой спиртовые или водно-спиртовые растворы аромати*ческих веществ (эфирных масел). Эфирные масла легко раство*ряются в этиловом спирте.
В зависимости от способа получения ароматические вещества разделяют на эссенции и настои.
Натуральные эссенции (лимонная, мандариновая, апельсино*вая) получают растворением природных ароматических веществ, содержащихся в цитрусовых. Для этого цедру свежих фруктов заливают водно-спиртовым раствором, экстрагируют ароматиче*ские вещества и отгоняют их вместе со спиртом под вакуумом. Крепость этилового спирта в эссенциях 64—69% об.
Спиртовые цитрусовые настои изготовляют путем экстрагиро*вания эфирного масла из цедры лимона, апельсина или из кожу*ры мандарина водно-спиртовым раствором. Вакуум-дистилляция при получении настоев не применяется. Обычно для получения настоев применяют метод противоточной экстракции.
Качество эссенции и настоев зависит от содержания в них терпенов — ароматических веществ, которые в воде не растворя*ются. При высоком содержании терпенов в цитрусовых настоях они в процессе приготовления безалкогольных напитков могут выпадать в осадок, вызывая опалесценцию в напитках. Поэтому перед употреблением из цитрусовых настоев удаляют терпены, смешивая настои с водой в соотношении 5: 1.
В цитрусовых настоях объемная доля спирта составляет 65%, а массовая доля эфирного масла в апельсиновом, лимонном и мандариновом — соответственно не менее 0,45; 0,40; 0,30%.
Кроме эссенций и настоев в производстве безалкогольных на*питков применяют ванилин, эфирные масла лавра благородного, цветов розы, эвкалипта, а также пряности: перец душистый, им*бирь, корицу, мускатный орех, гвоздику, шафран, кардамон, тмин; перец черный, красный, белый.

Мужчина 04.09.2015 11:47

ДИОКСИД УГЛЕРОДА

Для газирования (сатурации) напитков применяют чаще все*го сжиженный диоксид углерода- (С02). Газообразный диоксид углерода получают при обжиге известняка (СаС03-С02-СаО) или улавливанием его из дымовых газов и газообразных продук*тов брожения. Затем его сжижают при высоком давлении. Ди*оксид углерода придает напиткам игристость, приятный освежа*ющий вкус, является хорошим консервантом.
Применяемый в безалкогольном производстве сжиженный диоксид углерода — бесцветная, прозрачная, легкоподвижная жидкость, содержащая не менее 98,8% С02, не более 0,1% воды. В нем не должно быть примесей глицерина, минеральных масел, сероводорода и др. Он в 1,53 раза тяжелее воздуха. При темпе*ратуре 0°С и нормальном атмосферном давлении 1 кг газообраз*ного диоксида углерода занимает объем 506 л. Диоксид углерода хорошо растворяется в воде, растворимость его повышается с увеличением давления и понижением температуры.
Транспортируется и хранится сжиженный диоксид углерода в стальных баллонах под избыточным давлением около 6,5 МПа (при 20°С). Для отбора газа на баллоне устанавливают специальный редукционный вентиль. При свободном истечении через ре*дукционный вентиль жидкость превращается в газ с поглощени*ем большого количества теплоты.
Баллоны с С02 хранят в тени при температуре ниже 30° С, вдали от источников тепла, предохраняют их от ударов. Для транспортировки и хранения жидкого диоксида углерода исполь*зуют также специальные изотермические сосуды.

Мужчина 04.09.2015 11:48

Дрожжи

Для сбраживания квасного сусла на заводах применяют хле*бопекарные прессованные дрожжи или чистую культуру дрожжей рас М квасная, 131-К, С-2 и др.
Хлебопекарные прессованные дрожжи представляют собой сероватые с желтым отливом бруски массой 1, 0,5, 0,1 и 0,05 кг, влажностью не более 75%. Они должны обеспечивать подъем теста на 70 мм не более чем за 75 мин.
Дрожжи квасные сушеные расы М и других рас имеют вид вермишели, порошка или гранул светло-коричневого цвета, влаж*ностью 7—10%.
Дрожжи вызывают спиртовое брожение Сахаров квасного сус*ла, синтезируют и накапливают витамины.
Прессованные дрожжи хранят в холодильных камерах при температуре 0—4° С, сушеные — в герметически закрытой и до*верху заполненной таре при температуре не выше 8° С. Гарантий*ный срок хранения прессованных дрожжей — не более 12 сут, а сушеных — 3 мес.

Мужчина 04.09.2015 11:48

МОЛОЧНОКИСЛЫЕ БАКТЕРИИ

Квасные молочнокислые бактерии применяют для сбражива*ния квасного сусла с целью накопления молочной кислоты. Ис*пользуют их в сушеном виде совместно с дрожжами, получая квас с незаконченным спиртовым и молочнокислым брожением. Это придает готовому продукту специфические вкус и запах.
В производстве кваса применяют молочнокислые бактерии рас 11 и 13. Клетки бактерий имеют форму палочек длиной 1,2— 2 мкм, шириной 0,5—0,6 мкм.
Сухие молочнокислые бактерии хранят также в герметически закрытой таре при температуре не выше 8° С. Гарантийный срок хранения 3 мес.

Мужчина 04.09.2015 15:17

Вложений: 1
ОСНОВНЫЕ ПОЛУПРОДУКТЫ ДЛЯ ПРИГОТОВЛЕНИЯ БЕЗАЛКОГОЛЬНЫХ НАПИТКОВ


Кондиционированная вода. Вода, являющаяся основным компонентом фруктовых газированных напитков, по качеству должна соответствовать более высоким требованиям, чем обычная питьевая вода.
Для приготовления безалкогольных напитков желательно использовать воду общей жесткостью не более 1,4 мг экв./л и бактериально чистую.
Показателем бактериологической чистоты служат коли-титр и коли-индекс. Коли-титр выражает наименьший объем воды (в мл), в котором найдена одна кишечная палочка. А коли-индекс— это число кишечных палочек, найденных в 1 л воды.
Вода с коли-титром не менее 300 или коли-индексом не более 3 считается чистой и пригодна для изготовления напитков.
В производстве используют воду из городского водопровода или воду из артезианских скважин. Воду фильтруют, умягчают, удаляют из нее соли железа и обеззараживают. Такая обработка промышленной воды называется кондиционированием.
Кондиционирование воды способствует улучшению ее вкуса я обесцвечиванию.
Осветление и обеззараживание воды. Осветление воды проводят для осаждения веществ, находящихся в ней очень мелких коллоидных частиц и удаления других взвешенных примесей фильтрованием. Для коагуляции веществ коллоидных частиц воду обрабатывают глиноземом в количестве от 20 до 200 мг/л. При этом в воде образуются крупные хлопья гидроксида алюминия, которые выпадают в осадок и увлекают с

Вложение 1602
Рис. 74. Песочный фильтр

Мужчина 04.09.2015 15:17

Вложений: 1
Собой мельчайшие коллоидные частицы и механические взвеси. Осадок отфильтровывают, а воду направляют на биологическую очистку.
Схема натриекатионитовой установки, в которой проводят умягчение воды, приведена на рис. 75.
Цикл её работы состоит из умягчения воды, взрыхления слоя катионита, регенерации и отмывки. На умягчение вода поступает в верхнюю часть фильтра 3 при открытых вентилях 2 и 6, проходит через слои катионита, умягчается и отводится снизу через дренажное устройство.
Когда активная способность катионита снижается, его регенерируют. Для этого уплотнившийся слой катионита взрыхляют обратным потоком воды, поступающим снизу из бака 4 при открытых вентилях 5 и 8 и пропускают сверху вниз из солерастворителя 10 раствор поваренной соли при открытых вентилях /, 7 и 9. При этом катионит снова переходит в г4а-форму. После регенерации катионит отмывают от продуктов регенерации, пропуская через него воду сверху вниз при открытых вентилях 2 и 7.
Катионитовый фильтр (рис. 76) представляет собой вертикальный цилиндрический сосуд 2 с нижним и верхним сферическими днищами. Сосуд на 2/з высоты заполнен катионитом. Внизу на бетонную подушку 4 уложено дренажное устройство 3 для отвода умягченной воды. Во избежание уноса мелких частиц катионита через дренажное устройство сверху дренажа насыпают слой кварцевого песка (0,5—0,7 м) с размером зерен 1—2 мм. Вода на умягчение подается в фильтр сверху через воронку.
Обезжелезивание воды. Соединения железа удаляют из воды аэрированием, коагулированием, известкованием, катионированием. Наиболее эффективным способом является хлорирование воды.
На рис. 77 представлена установка для обработки воды хлорной известью. Установка состоит из резервуара 3, в который вставлен резервуар 5 меньшего размера. Раствор хлорной извести подают из мерного бачка 4, а воду — через штуцер 2. Смесь мешалкой / интенсивно перемешивают и через трубу 7 вода поступает в резервуар 5. Через барботер 9 из пористого материала в трубу 7 нагнетают сжатый воздух для лучшего перемешивания и аэрирования воды.
Обработанная вода проходит через слой гравия или кольца Рашига (короткие обрезки труб) и отводится через дренажное устройство 8. Шлам из резервуара 3 спускают через штуцер 10. Установку промывают обратным током воды, отводя ее через штуцер 6.
Фильтрование воды. Перед насыщением С02 питьевую воду фильтруют в керамическом фильтре для удаления взвешенных частиц и микроорганизмов.

Вложение 1603
Рис. 77. Установка для обработки веды хлорной известью

Мужчина 04.09.2015 15:18

Вложений: 1
Керамический фильтр (рис. 78) представляет собой цилиндрический сосуд со сферическим днищем и крышкой. Между корпусом и крышкой закреплена решетка /, в которой установлены фильтрующие элементы — патроны 2 из пористой керамики со сферическим днищем.

Вложение 1604
Рис. 78. Керамический патронный фильтр

Мужчина 04.09.2015 15:18

Фильтрующие элементы ежедневно очищают обратным током воды при избыточном давлении 0,03 МПа и через две недели проводят дезинфекцию раствором перманганата калия. Дезинфицирующий раствор выдерживают в фильтре 10—12 ч.
Сахарный сироп и колер.
Белый сахарный сироп для безалкогольных напитков приготовляют так же, как и для кваса.
На многих заводах используют белый инвертированный сироп. Для приготовления белого инвертированного сиропа в белый сахарный сироп, после кипячения в течение 30 мин и охлаждения до 70° С добавляют 750 г лимонной кислоты (в виде 50%-ного водного раствора) на каждые 100 кг сахара. Подкисленный сахарный раствор выдерживают 2 ч при непрерывном перемешивании, фильтруют и охлаждают до 10—20° С.
В этих условиях под действием кислоты примерно половина сахарозы превращается в инвертированный сахар, представляющий собой смесь глюкозы и фруктозы. Эту реакцию называют инверсией сахарозы. При полной инверсии в результате присоединения к молекуле сахарозы молекулы воды происходит увеличение массы сухих веществ в растворе в 1,053 раза (360/342 = = 1,053), или на 5,26%. А при инвертировании сахарозы на 50% масса сухих веществ увеличивается на 2,63%. Если при этом принять во внимание, что сладость инвертированного сиропа немного выше сладости сахарозы, то расход инвертированного сахара на приготовление безалкогольных напитков можно снизить по сравнению с расходом сахарозы. Например, при использовании 50%-ного белого инвертированного сиропа его расход снижают на 2,63% (по массе сухих веществ в растворе).
Готовый охлажденный сахарный сироп хранят в закрытых эмалированных или алюминиевых сборниках и по мере надобности подают на приготовление купажа.

Мужчина 04.09.2015 15:18

Для придания цвета напиткам из сахара-песка варят карамельную массу (колер) так же, как и при производстве кваса.
Купажные и торговые сиропы.
Купажный сироп, представляющий собой смесь сахарного сиропа с фруктовыми соками, эссенциями и др., является полуфабрикатом, из которого при добавлении газированной воды получают готовый продукт — безалкогольный напиток.
Купажный сироп получают смешиванием сахарного сиропа с соками, морсами и экстрактами (холодный купаж) или варкой плодово-ягодного полуфабриката с сахаром (горячий купаж). Все купажные сиропы изготовляют по определенной рецептуре.
Для купажирования используют стальные эмалированные или из коррозиестойкой стали резервуары, оснащенные якорной мешалкой, с герметически закрывающимися люками, мерными стеклами и арматурой.
Холодное купажирование применяют при приготовлении купажного сиропа из стерилизованных и пастеризованных натуральных и синтетических эссенций, ароматных настоев и вина. При этом лучше сохраняются витамины и ароматические вещества.
Все компоненты купажа вносят в купаж после их фильтрования в определенной последовательности. Сначала вводят сахарный сироп, затем при перемешивании — плодовый сок или экстракт, далее добавляют вино, после этого — растворы кислот и красителей и в последнюю очередь добавляют цитрусовые настои и растворы натуральных и синтетических эссенций. Смесь тщательно перемешивают и фильтруют.

Мужчина 04.09.2015 15:19

В готовом купажном сиропе определяют содержание сухих веществ (экстрактивность), кислотность и органолептические показатели. По сахарометру экстрактивность купажного сиропа колеблется от 32 до 45%.
Готовый купажный сироп перекачивают под давлением СО2 в эмалированные напорные сборники, откуда он поступает в дозировочную машину. Перед розливом купажный сироп пропускают через теплообменник и охлаждают до 8—10° С. Для перекачки купажных сиропов насосы не применяют, чтобы исключить их загрязнение смазочными маслами.
От качества купажного сиропа зависит качество напитка, поэтому купажирование является основной и наиболее важной производственной операцией.
Объем купажного сиропа не должен превышать /в объема напитка. В тех случаях, когда доза купажного сиропа получается больше, его готовят с повышенной концентрацией сухих веществ.

Мужчина 04.09.2015 15:19

Купажные сиропы приготовляют в соответствии с действующими нормами расхода сырья.
Сиропы, предназначенные для продажи с газированной водой в торговой сети, готовят так же, как и купажный сироп. В зависимости от вида сырья применяют горячий или холодный способ приготовления купажа. Сиропы из цитрусовых настоев натуральных и синтетических эссенций готовят холодным способом, плодово-ягодные сиропы — горячим способом.
Торговые сиропы готовят с более высокой концентрацией сухих веществ (от 50,6 до 63,7%) по сравнению с сиропами, применяемыми на заводе, и разливают в бутыли вместимостью 3, 5, 10 и 15 л. Стойкость сиропов в процессе хранения при 20° С должна быть не менее 20 сут.

Мужчина 04.09.2015 15:20

Вложений: 1
ТЕХНОЛОГИЯ ГАЗИРОВАННЫХ БЕЗАЛКОГОЛЬНЫХ НАПИТКОВ

Вложение 1605

Способы приготовления газированных безалкогольных напитков. На рис. 79 приведена технологическая схема производства безалкогольных напитков.
Поступающую в производство воду подвергают очистке. Первое фильтрование воды проводят в песочных фильтрах 24 для грубой очистки. Осветленную воду умягчают в натрийкатионитовом фильтре 25 и собирают в сборнике 27. Из этого сборника воду подают насосом 28 через керамический патронный фильтр 29 и холодильник 30 на сатурирование (насыщение диоксидом углерода) и смешивание с купажным сиропом. Для регенерации катионита используют солерастворитель 26 и сборник регенерирующего раствора 23.
Купажный сироп представляет собой концентрированный раствор всех компонентов, составляющих вкусовую и ароматическую основу напитка (в бутылке его разбавляют газированной водой в соотношении 1:4).

Мужчина 04.09.2015 15:21

Для получения белого сахарного сиропа в сироповарочный котел 2 заливают рассчитанное количество подготовленной воды и нагревают ее до кипячения. При нагревании включают мешалку и в котел постепенно засыпают предварительно очищенный от посторонних примесей сахар из расчета 8,5—9 частей на5 частей воды (по массе). Кипячение продолжается 30 мин, дважды снимают пену. После снижения температуры до 70° С; в котел из мерника 3 добавляют раствор лимонной кислоты. Затем горячий сироп сливают в сборник-монжю 4.
Из сборника 4 сироп в горячем состоянии под небольшим давлением, создаваемым С02, подают в фильтр 5 и холодильник 6. Охлажденный сироп перёкачивают для хранения в закрытые сборники 7. Содержание сахара в готовом сиропе 60— 65% мае.
Колер, применяемый для окраски напитков в желтый и светло-коричневый цвета, готовят путем нагревания сахара до 180— 200° С. В котел / загружают сахар и наливают воду. Включают мешалку и обогрев, температуру раствора постепенно (в течение 40 мин) доводят до 180° С, а затем производят уваривание в течение 90 мин. Из котла уваренная масса сливается в бак 22 для доводки колера. Здесь к охлажденной карамельной массе добавляют горячую воду, доводя концентрацию сухих веществ до 70—80% мае. Затем через фильтр 20 колер перекачивают насосом 21 в сборник 19 для хранения колера. Из сборника раствор колера насосом или самотеком подается в предкупажные мерники 18.

Мужчина 04.09.2015 15:21

Приготовление купажного сиропа производят периодическим способом. Компоненты смешивают в закрытом сборнике — купажере 17, в который подают согласно рецептуре компоненты в такой последовательности: сахарный сироп из сборников 7, плодово-ягодные соки, вина или настойки из мерников 10, растворы органических кислот из мерника 8, колер из мерников 18. Смесь тщательно перемешивают и в последнюю очередь вносят ароматические вещества из мерника 9. Соки, вина и настойки, имеющие осадки, при подаче из танков 12 в мерники 10 осветляют на фильтрах. После перемешивания всех компонентов в купаже-ре 17 сироп насосом 16 перекачивают через фильтр 15 и холодильник 14 в напорные резервуары 13. Резервуары снабжены рубашками для поддержания необходимой температуры купажного» сиропа.
При употреблении свежих соков, недостаточно выдержанных морсов или нестандартных экстрактов, содержащих значительное количество белков или избыточное количество спирта, купажный сироп готовят горячим способом.
Для этого в сироповарочном котле 2 варят белый сироп вместе с отфильтрованным соком или разбавленным экстрактом. Варка длится не более 20 мин, после чего горячую смесь фильтруют, охлаждают и подают в купажер.

Мужчина 04.09.2015 15:21

Для насыщения воды или смешанного напитка диоксидом углерода на крупных предприятиях используют автоматизированные установки непрерывного действия. Вода, охлажденная до» температуры 4—7° С, поступает в деаэратор 31 для удаления растворенного воздуха и затем насосом 32 подается в сатуратор. Насыщение воды диоксидом углерода проводят под избыточным: давлением 0,3—0,6 МПа до содержания С02 4,5—6 г/л. Из сатуратора вода поступает в резервуар разливочного автомата «38.
По транспортеру 34 из посудного склада в помещение моечного отделения подают бутылки и загружают их в моечную машину 35. Вымытые бутылки проверяют перед световым экраном 36 для обнаружения дефектов стекла и неотмытых загрязнений. В чистые бутылки, прошедшие бракераж, в дозировочном автомате 37 наливают дозу купажного сиропа, затем в разливочном: автомате 38 доливают до определенного уровня газированной водой. Заполненные бутылки укупоривают на автомате 39 и взбалтывают для смешивания сиропа и воды в смесителе 40. Далее бутылки просматривают для обнаружения брака на полуавтомате 41 и после наклейки этикеток в автомате 42 укладывают в. ящики и отправляют в экспедицию.

Gleb 30 10.04.2016 11:02

Квас - очень хорошо, особенно летом. Литрами могу каждый день его пить!)


Текущее время: 07:03. Часовой пояс GMT +3.

Powered by vBulletin® Version 3.8.6
Copyright ©2000 - 2025, Jelsoft Enterprises Ltd. Перевод: zCarot